Präzisionsspinner 42/8mm Z-Gabel
Z-Spinner (CN) 42mm
Die Spinnerserie für aerodynamische Höchstleistungen.
Mit den Z-Spinnern werden die Vorteile der CN-Spinner (Cool Nose mit Kühlluftöffnungen) und der gekröpften Z-Mittelstücke vereint. Durch die abgewinkelten Mittelstücke aus Aluminium legen sich die Klappluftschraubenblätter noch enger an den Rumpf an und sorgen so für weniger Luftwiderstand während des Segelflugs. Die Spinner mit den Mittelstücken sind für schlanke E-Seglerrümpfe konzipiert, können aber auch z.B. bei Holzrümpfen in Kastenbauweise Vorteile bringen, wenn diese rund verschliffen werden.
Die Mittelstücke der Spinnergrößen 32-42mm sind untereinander austauschbar, so können z.B. 38mm Spinnerkappen mit dem Mittelstück der 42mm Spinner betrieben werden. Durch diese Kombinationsmöglichkeiten ergibt sich weiteres Optimierungspotenzial, da so eine feinere Abstimmung auf den jeweiligen Rumpf möglich ist. Der Spinner 30mm hat ein eigenes Mittelstück, das nicht mit den anderen Spinnerkappen kombinierbar ist.
Der Z-Spinner enthält eine Spinnerkappe (Durchmesser 42mm) aus weißem Kunststoff (sehr gut lackierbar), gefrästes Alu-Mittelstück mit integrierter Aufnahme für Spannkonus, spezieller Prop-Gummi zum Anklappen der Propellerblätter, Montageschrauben für Spinnerkappe und Propellerblätter.
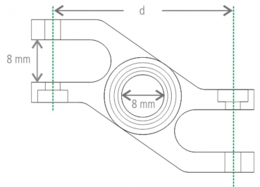
Der Durchmesser der Spinnerkappe beträgt 42 mm. Der Achsabstand (d) beträgt bei diesem Spinner 36 mm. Das bedeutet, dass sich der Durchmesser der Propellerblätter um 6 mm (0,24″) verringert. Beispiel: Ein Propeller mit 12″ Durchmesser hat effektiv an diesem Mittelstück einen Durchmesser von 11,76″ (die Größenangaben bei Klappluftschrauben beziehen sich immer auf die Verwendung eines Mittelstücks mit Achsabstand d=42 mm).